福特获得新型自动充电系统专利具有断电检测功能
发布时间:2022-09-20 15:05
浏览量:155
据外媒报道,福特汽车公司获得一种新型自动充电系统专利。

该专利于2020年9月10日提交申请,2022年9月13日公布,编号为11440424。
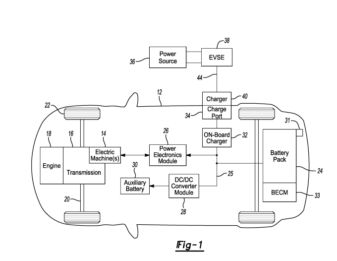
新专利中概述了一种电动汽车自动充电系统理念。该系统包括电源和连接到电源的充电单元。充电单元由储能装置和能够连接到汽车充电端口的机器人耦合器组成。充电单元使用电源给车辆充电,其中储能装置可独立为机器人耦合器供电,无而考虑电源的充电状态。这些系统通过经过编程的控制器可以自动工作,无需驾驶员操作,即可在充电完成后自动解耦。
标签: